Termes et dimensions – Votre guide pour le bon choix
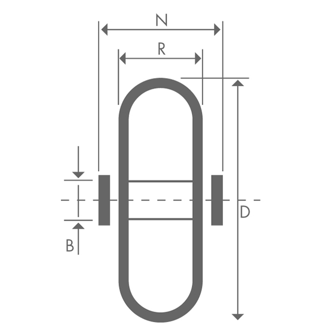
B =
diamètre d‘alésage / axe
D = diamètre de la roue
N = longueur du moyeu
R = largeur de la roue
D = diamètre de la roue
N = longueur du moyeu
R = largeur de la roue
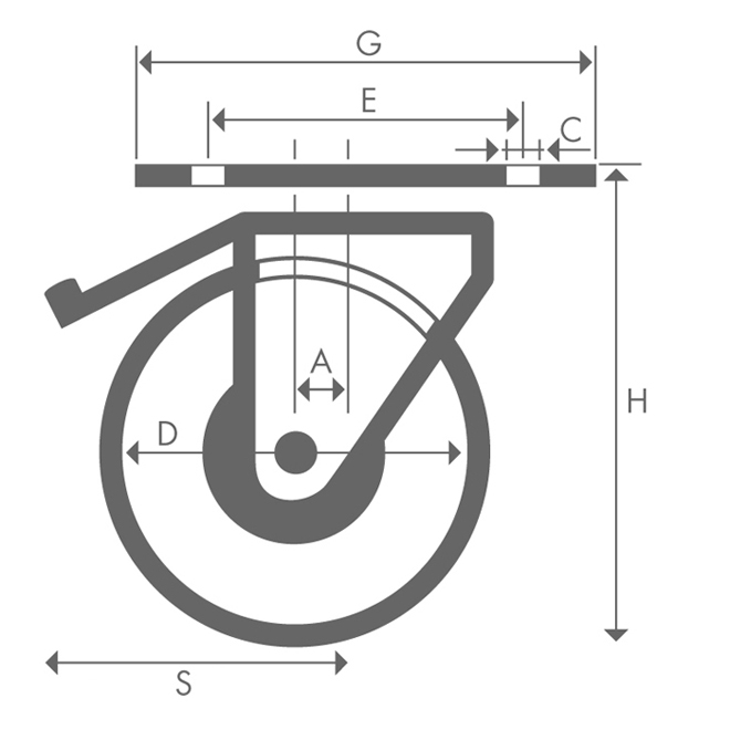
A = déport
C =
diamètre des trous de fixation
D =
diamètre de la roue
E =
entraxes
G = dimension de la platine
H =
hauteur
S =
rayon du cercle de pivotement
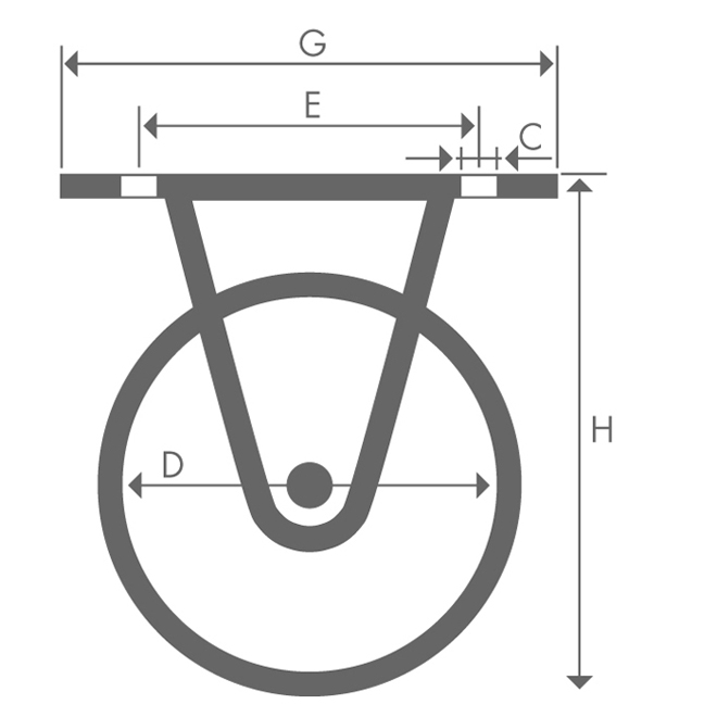
C =
diamètre des trous de fixation
D = diamètre de la roue
E = entraxes
G = dimension de la platine
H = hauteur
D = diamètre de la roue
E = entraxes
G = dimension de la platine
H = hauteur